群发资讯网

今天理想L8以全新姿态登录工信部,除了都知道的变成了五座之外,另外分享几个有意思

今天理想L8以全新姿态登录工信部,除了都知道的变成了五座之外,另外分享几个有意思的点:

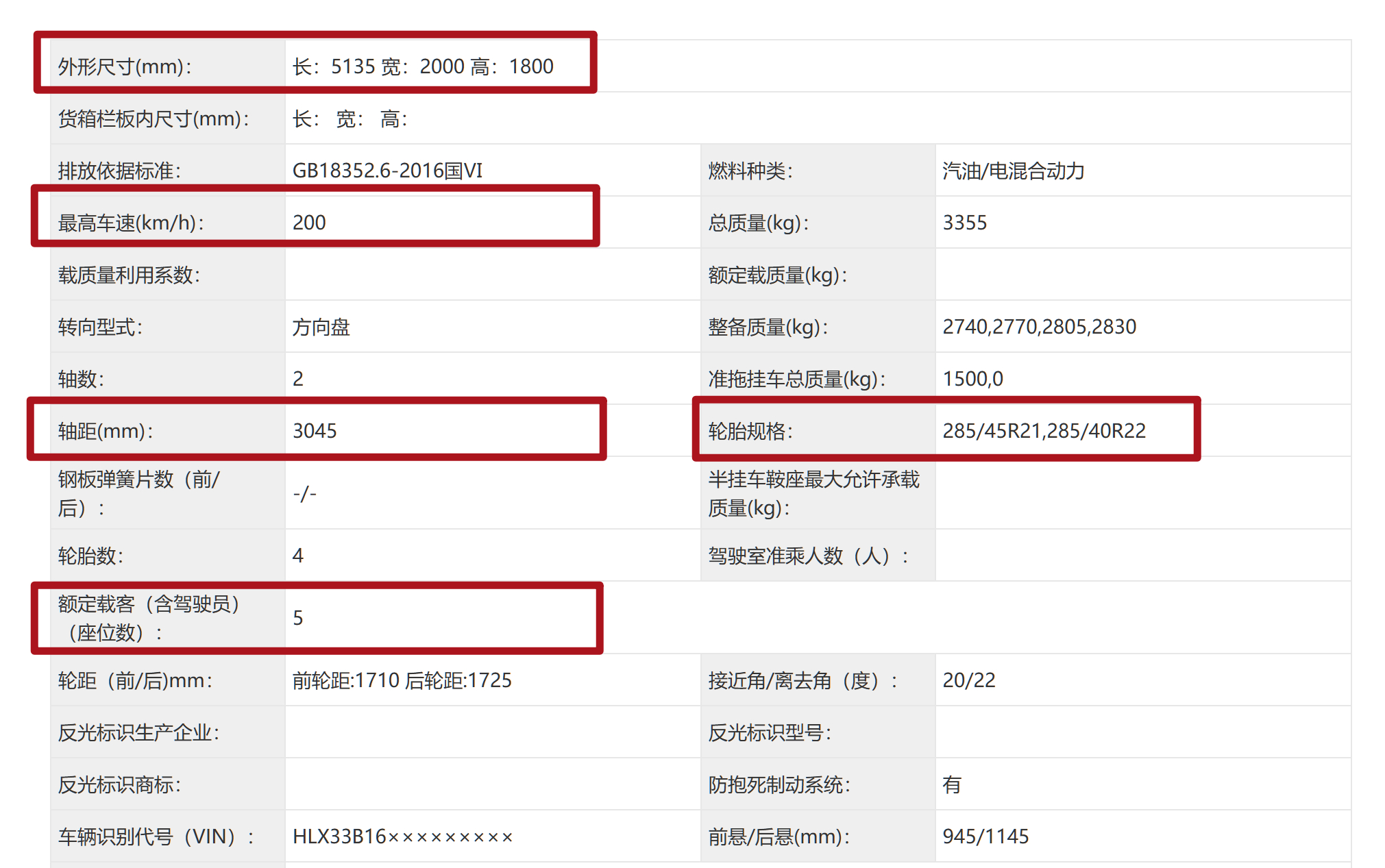
1️⃣尺寸全面加大新款三围:5135×2000×1800mm老款三围:5080×1995×1800mm

新款轴距:3045mm老款轴距:3005mm

长度、宽度、轴距同步提升,车内空间应该也会更宽裕。

2️⃣性能显著升级“将宝马X5M的运动性能与迈巴赫GLS的空间体验集于一身。”

轮胎规格统一升级至285 宽度(21/22 英寸轮毂可选),老款最大仅 265;

最高车速提升至200km/h(老款 180km/h),操控与高速稳定性进一步强化。

3️⃣能耗表现突出根据工信部披露的情况,WLTC燃料消耗量仅为0.23L/100km,不仅相比老款0.71的水平大幅下降,也低于同级0.4-0.7的水平(比如极氪8X为0.31/0.41)。不知道这是怎么做到的。

霸天资讯理想L8