一些汽车制造商正致力于简化维修和方便车主进行改装,而另一些制造商似乎却在悄然朝着相反的方向发展。例如,梅赛德斯-奔驰正试图通过将车灯固定方式从胶水改为螺丝来减少车灯维修的麻烦。与此同时,其最大的竞争对手正在尝试一种设计上的奇特之处,这可能会使DIY维修变得更加复杂。

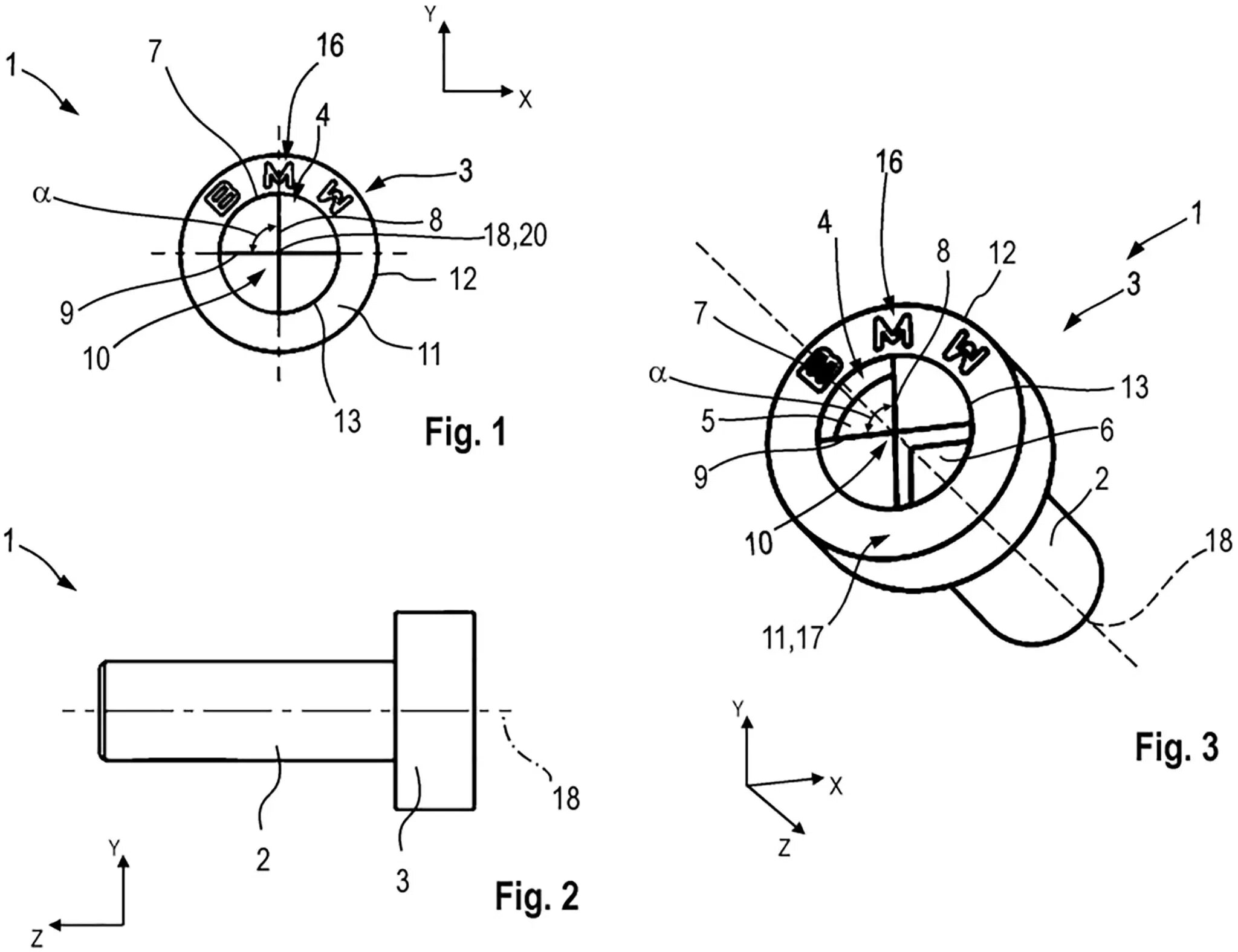
宝马似乎秉持着德国人特有的严谨作风,提交了一系列专利图纸,展示了以其品牌标志为灵感设计的定制螺丝头。宝马并没有采用传统的紧固件,而是尝试使用借鉴其圆形标志元素的专属设计,并保留了四分格细节。
该专利概述了四种不同的头部类型,包括插座式、扁平式和圆形。每种头部形状都类似于宝马标志,分为四个象限。其中两个象限是凹陷的,其余象限则是扁平的或凸起的,这种形状可能需要定制工具才能安装。

乍一看,这些带有品牌标识的螺丝头确实很吸引人,尤其是在车厢或发动机舱等显眼位置使用时。但对于拥有标准工具包的维修技师或车主来说,它们就没那么吸引人了。特殊的螺丝孔位意味着普通工具无法抓握,任何想要检修关键部件的人都可能需要宝马专用工具。
不难想象这会给维修车间带来多大的麻烦。普通的螺丝刀套装根本不够用,除非你是宝马经销商或是铁杆车迷,否则你很可能会发现自己少了一把螺丝刀就无法完成维修。

不出所料,网络上对这个想法并不买账。爱好者们纷纷抨击,认为这对那些喜欢自己动手维护的车主来说又是一个障碍。
当然,这些螺丝最终能否投入生产,谁也说不准。汽车制造商申请的专利很多都止步于图纸阶段。这些螺丝的设计于2024年6月7日提交,并于2025年12月11日公开。但就目前而言,还只是图纸而已。

无论宝马的螺丝钉方案最终是否会成为现实,我们都担心汽车制造商会不断增加车辆的维修难度。毕竟,在电气化和科技化的时代,车主一旦遇到故障,就已经非常依赖专业的维修站了。
评论列表