集尿袋空载泄漏测试工装、集尿袋跌落泄漏测试工装、引流袋流速测试工装
一、介绍
用于测试集尿袋引流袋等产品的性能,是检测该类产品是否满足要求的关键工装,广泛应用于医疗器械生产质控、研发验证及法规合规检测中。
二、关键参数



三、执行标准与特点
符合标准:
GB/T 17257.2-2009 (集尿袋第2部分:要求和检验方法)
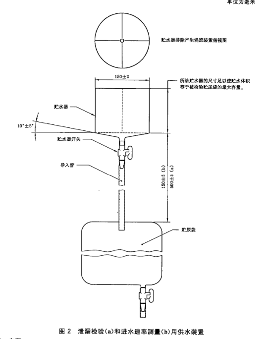
集尿袋空载泄漏检测,集尿袋跌落泄漏检测, 引流袋流速检测,
四、示意图

五、配置清单
说明书1份;
合格证1份;
保修卡1份;
签收单1份;
铭牌1块;
宣传册若干;