作为河南省登封市城市建设的“主力军”,登封市建设投资集团有限公司(以下简称“登封建投”)在被执行人记录、短期债务规模、主体评级子级被调整等方面引发市场关注。
上海票据交易所显示,截至2025年10月31日,登封建投出现140万元票据逾期。公司公告称,11月7日,上述票据逾期已结清,累计逾期发生额1,640万元。值得注意的是,截至11月30日,登封建投仍被票交所列入票据持续逾期名单。
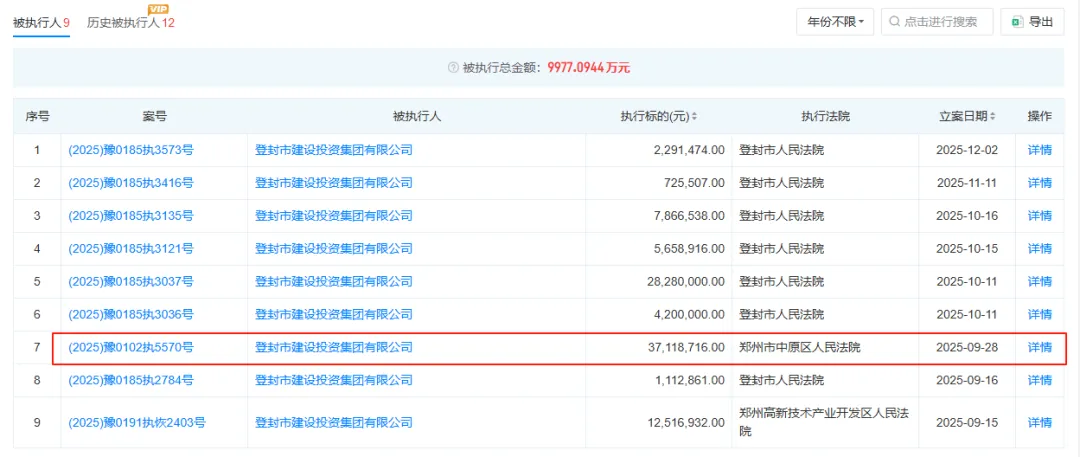
据天眼查数据,截至12月16日,登封建投累计产生9条被执行人记录,涉案总金额达9,977.09万元,距亿元仅一步之遥。此外,公司存在1条限制消费令,申请人为郑州银行股份有限公司登封支行。
债务方面,截至2024年末,登封建投总债务规模达59.99亿元,其中36.99亿元为短期债务,占比超六成,短期偿债压力陡增。公司2024年EBITDA(息税折旧摊销前利润)为1.34亿元,较上年1.80亿元大幅下滑;公司非受限货币资金对短期债务的覆盖倍数仅为0.01倍。
中诚信国际在评级报告中指出,登封建投“未来一年流动性覆盖严重不足”且“风险管理能力不足”,将公司主体信用等级由AA/稳定调至AA(列入信用评级观察名单)。
登封建投征信报告(有效期至2025年5月)进一步暴露风险敞口。公司逾期贷款本金已达6,000万元(涉及工商银行4,000万元、中信银行2,000万元),369.72万元逾期利息则全部来自郑州银行的借款。其中,公司已就工商银行相关借款签订了还款计划调整补充协议,中信银行的逾期借款已完成偿还。此外,公司本部存在对外担保关注类余额1.68亿元,对外担保不良类余额1.42亿元。
2024年度审计报告则显示,登封建投1.65亿元长期借款已到期但未能偿还,而这些债务的债权方均指向郑州银行。
被列入持续逾期名单,被执行金额近1亿元
上海票据交易所数据显示,截至10月31日,登封建投票据逾期余额为140万元。面对这一情况,登封建投发布公告,截至11月7日,上述逾期票据已全部结清。不过,公司11月份仍被上海票据交易所列入持续逾期名单。

上图来源:上海票据交易所
强制执行信息暴露了登封建投信用困局。据天眼查,截至12月16日,登封建投已累计产生9条被执行人记录,执行标的总额合计高达9,977.09万元,距离亿元仅一步之遥。

上图来源:天眼查
其中金额最高的一笔执行案源于公司与登封电厂集团有限公司的纠纷,郑州市中原区人民法院裁定执行3,711.87万元。更值得关注的是,公司有1条限制消费令,申请人为郑州银行登封支行,执行法院为登封市人民法院。
此外,登封建投持有的7家公司股权已被司法冻结,涉及股权总额约3.87亿元。被冻结股权的下属公司涵盖基建、机场管理等多个关键领域,包括登封市建投检验检测中心有限公司、登封市鼎昇建筑工程有限公司、郑州中鑫实业有限公司、郑州少林机场管理有限公司、登封市嘉禾路桥工程有限公司、登封投资控股有限公司、登封市民康实业有限公司。
近37亿短债高悬,评级被调至AA列入信用评级观察名单
数据显示,截至2024年,登封建投总债务为59.99亿元,主要由银行借款和债券构成。其中,短期债务36.99亿元,占总债务的比例为61.66%,长期债务约23亿元,占比38.34%。
偿债能力方面,登封建投EBITDA由2023年的1.80亿元降至2024年的1.34亿元,下降原因为,公司处置原子公司登封市自然资源投资管理有限公司股权产生的非经常性损益增加及无形资产摊销下降。公司EBITDA利息保障倍数也由0.75降至0.52。
同时,公司非受限货币资金对短期债务的覆盖能力亦持续弱化,2024年末下降至0.01倍,公司短期偿债压力较大。此外,2024年末,公司金融机构授信总额为12.17亿元,尚未使用的授信额度为1.87亿元,备用流动性弱。
现金流全面承压。公司经营活动现金流净额由2023年的2.93亿元转为2024年的-2.73亿元,投资活动现金流虽从-7.47亿元收窄至-1.02亿元,但仍为净流出,筹资活动现金流同样大幅收缩,2024年净额仅2.74亿元,同比下降29.20%。
评级机构的预警信号已落地。中诚信国际发布的评级报告显示,登封建投主体信用等级已从“AA/稳定”被调整至“AA/列入信用评级观察名单”。评级报告显示,登封建投未来一年流动性覆盖严重不足且公司风险管理能力不足,故将公司基础信用评估等级下调1个子级。
1.65亿长期借款逾期,对外担保不良类余额1.42亿
中诚信国际在《登封建投2025年度跟踪评级报告》中披露了登封建投更为具体的债务风险细节。根据公司提供的截至2025年5月的企业征信报告,公司本部存在未结清信贷逾期本金6,000万元,逾期利息369.72万元。其中逾期本金包括工商银行4,000万元和中信银行2,000万元,逾期利息均为郑州银行借款利息。
面对上述逾期,2025年6月6日,登封建投已与工商银行签订《关于债权投资协议还款计划调整的补充协议》。针对中信银行借款,公司已于2025年5月30日完成还款。
与此同时,根据征信报告,公司本部存在未结清关注类账户10个,涉及金额8.83亿元,已结清关注类账户13个,不良类账户1个。同时,公司存在对外担保关注类余额1.68亿元,对外担保不良类余额1.42亿元。

上图来源:登封建投2024年度审计报告
尤为引人注意的是,根据公司2024年年度审计报告,截至去年末,登封建投长期借款中已有1.65亿元到期却未能偿还,借款银行均为郑州银行。
围绕被执行人信息、评级调整等多重市场关切,城市金融报·财观新闻向登封建投发出采访函。截至发稿,尚未收到任何书面回复。
记者:张嘉怡
财经研究员:赵强