天眼查App显示,近日,大连万达集团股份有限公司、万达地产集团有限公司等新增一则恢复执行信息,执行标的12亿余元,执行法院为上海市第二中级人民法院。
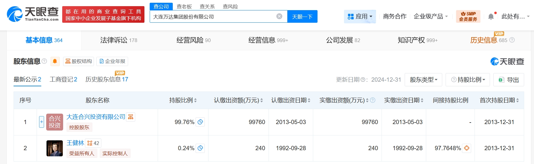
大连万达集团股份有限公司成立于1992年9月,法定代表人为王健林,注册资本10亿人民币,由大连合兴投资有限公司、王健林共同持股。天眼风险信息显示,该公司现存12条被执行人信息,被执行总金额81亿余元,此外,该公司还存在多条股权冻结信息。



天眼查App显示,近日,大连万达集团股份有限公司、万达地产集团有限公司等新增一则恢复执行信息,执行标的12亿余元,执行法院为上海市第二中级人民法院。
大连万达集团股份有限公司成立于1992年9月,法定代表人为王健林,注册资本10亿人民币,由大连合兴投资有限公司、王健林共同持股。天眼风险信息显示,该公司现存12条被执行人信息,被执行总金额81亿余元,此外,该公司还存在多条股权冻结信息。


