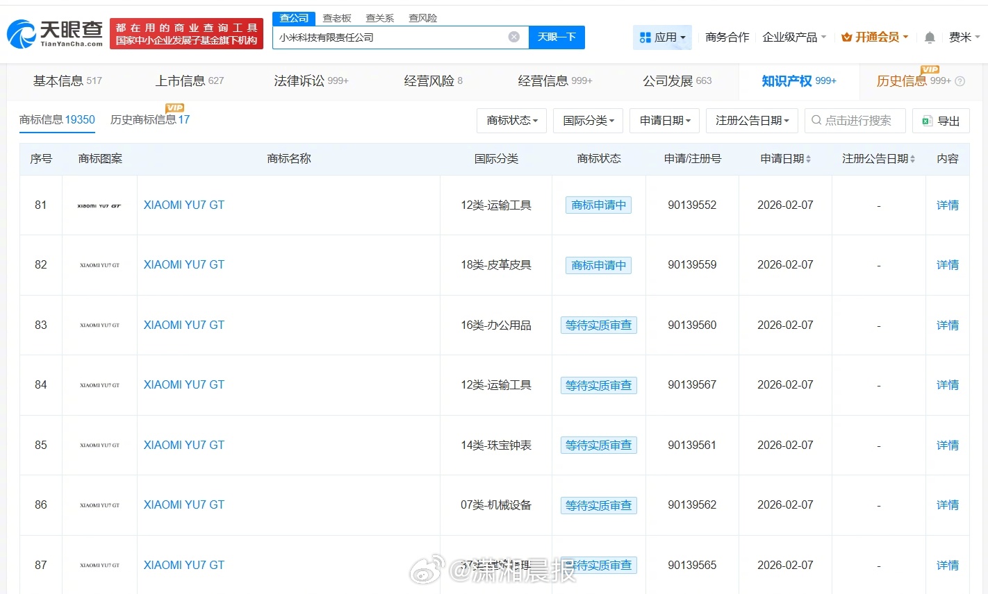
【#小米今年已申请YU7 GT商标#, #小米近期申请YU7 GT商标#】#YU7GT5月底发布# 据媒体报道,4月24日,在2026(第十九届)北京国际汽车展览会上,小米集团创始人、董事长兼CEO雷军表示,YU7 GT将于5月底发布,定位长途旅行的跑车级SUV,高性能、豪华舒适、长续航。记者查询天眼查发现,今年2月,小米科技有限责任公司申请注册多枚“XIAOMI YU7 GT”商标,国际分类包括运输工具、珠宝钟表等,当前商标状态均为等待实质审查。小米科技有限责任公司成立于2010年3月,法定代表人为雷军,注册资本约14.8亿人民币,经营范围包括通讯设备销售、厨具卫具及日用杂品批发、厨具卫具及日用杂品零售等,由雷军、刘德共同持股。


