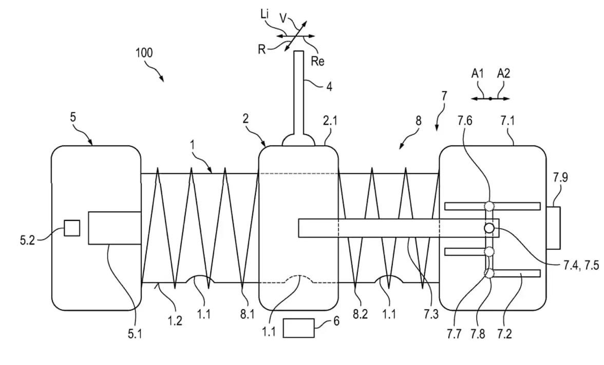
保时捷开发新变速箱,能在手动和自动之间切换 保时捷申请了一项新的变速箱专利,能根据驾驶员喜好,选择纯手动或纯自动挡模式,2024年8月保时捷就向德国专利局申请了专利,但最近才公布。 考虑到车企经常会申请一些永远不会量产的专利,所以这款变速箱也可能永远不会投产,但是电动化时代,真的还会有人怀念手动挡吗?【来自懂车帝车友圈】



保时捷开发新变速箱,能在手动和自动之间切换 保时捷申请了一项新的变速箱专利,能根据驾驶员喜好,选择纯手动或纯自动挡模式,2024年8月保时捷就向德国专利局申请了专利,但最近才公布。 考虑到车企经常会申请一些永远不会量产的专利,所以这款变速箱也可能永远不会投产,但是电动化时代,真的还会有人怀念手动挡吗?【来自懂车帝车友圈】


