群发资讯网

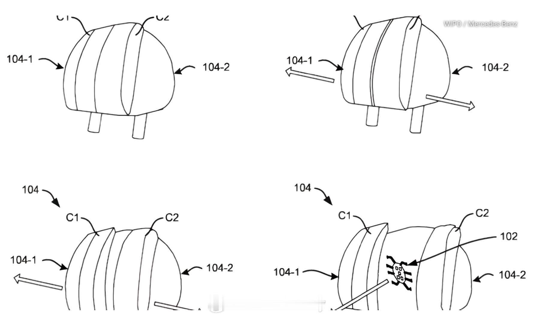
看来按摩店真的要进入车内了之前都是座椅按摩现在座椅的头枕也要有按摩的功能里奔驰近

看来按摩店真的要进入车内了之前都是座椅按摩现在座椅的头枕也要有按摩的功能里奔驰近期申请了头枕按摩功能且能实现自动调整角度并实现移动、扭转、震动及整体旋转一个好家伙比新势力还激进你受得了吗?奔驰大v聊车