21世纪经济报道记者易佳颖实习生张嘉雯
回望2025年,香港交易所的锣声为国货美妆品牌一次次敲响。
林清轩、自然堂、珀莱雅等国产美妆品牌,不约而同地将目光投向港股。据媒体不完全统计,2025年至今已有超过41家美妆相关企业冲刺IPO,覆盖原料商、包材商、品牌商、运营商等产业链上下游。
这场集体奔赴,映射了中国美妆行业寻求破局与跃升的渴望。但正如林清轩创始人孙来春所说,“在港交所上市,是林清轩正式开启多品牌化、全球化布局,踏上做强做大的全新里程。”
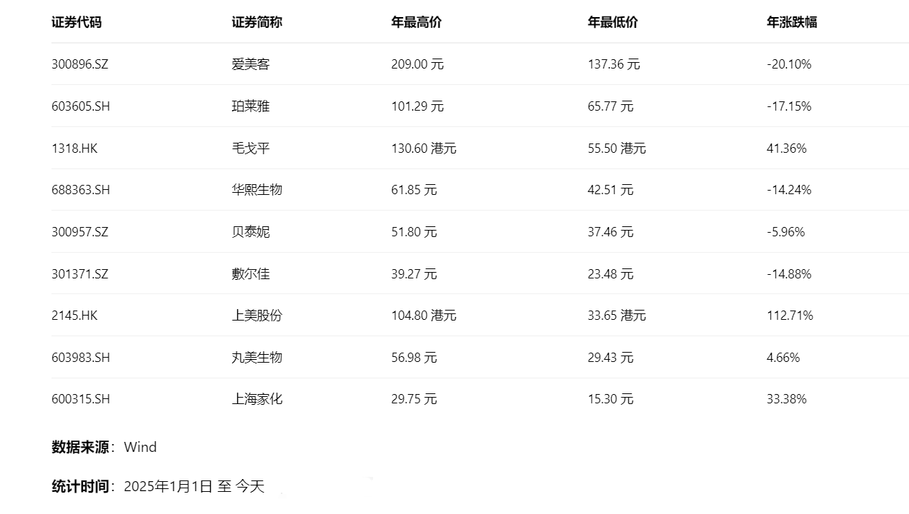
上市仅是登陆资本市场的新起点,在上市之后,以及上市之外,仍有资本暗涌。如“国货彩妆第一股”毛戈平的股价,从2025年6月4日高点130.6港元/股一路下跌至2026年1月16日86.6港元/股,跌幅超过30%。
冷暖分化
抢在2026年到来之前,12月30日,上海林清轩化妆品集团股份有限公司正式在香港交易所主板挂牌上市,拿下“国货高端护肤第一股”的光环,收获资本热捧。上市首日,其发售价定为77.77港元/股,开盘即报85港元,较发行价上涨9.3%,市值一举突破118亿港元。
然而,并非所有上市企业都享受着同样的温暖。作为A股昔日的“20倍大白马”,珀莱雅在宣布拟发行H股赴港上市的同时,其A股股价正经历深度回调。
自2023年高点以来,珀莱雅股价波动明显,市场担忧的核心在于增长“失速”。2025年上半年,珀莱雅营收同比增速放缓至7.21%,创下自2017年A股上市以来的新低,其中贡献近八成营收的主品牌甚至出现了近五年来的首次微幅负增长。

同样已在A股上市的丸美生物,其股价在2025年的表现也明显跑输港股同行们,年内仅累涨4.66%。公司在2025年遭遇了“增收不增利”的困境,前九个月净利润同比增速骤降至2.13%,高昂的销售费用侵蚀了利润,且赴港上市前的大额分红也引来一些争议。
而前几年备受市场追捧的“成分党”代表和科技护肤龙头则在2025年普遍面临压力:贝泰妮股价下跌5.96%,华熙生物股价下跌14.24%,敷尔佳股价下跌14.88%。这一定程度上可能意味着,市场对单纯依赖大单品和营销驱动的增长可持续性,以及相关公司的高估值进行了重新审视与回调。
与此同时,新一轮的上市浪潮接踵而至。2025年3月,国货护肤品牌谷雨启动A股上市辅导;5月,国货高端护肤品牌林清轩向港交所递交招股书;6月,植物医生向深交所主板递交IPO申请,同月,颖通控股登陆港股,斩获“中国香水第一股”桂冠;9月,自然堂全球控股有限公司向港交所递交招股书。但是,这仅仅是开始,对于资本市场来说,美妆品牌需要找到自己的价值点。
出海野心
在这股上市热潮,港股成为优势选项。在多家美妆品牌叙事中,“国际化”、“出海”都被置于战略蓝图的核心位置。赴港上市本身,就被普遍解读为搭建国际资本平台、提升全球品牌声望的关键一步。
珀莱雅明确表示,发行H股旨在“加快公司的国际化战略和海外业务发展”。自然堂也在招股书中将“建立国际品牌知名度”列为核心目标。毛戈平也在近日发布公告称,该公司与私募股权投资机构路威凯腾签订了战略合作框架协议,双方在全球市场扩张、收购及战略投资、资本结构进一步优化、人才引进与治理方面达成了战略合作意向。
值得一提的是,2025年9月,珀莱雅独家投资了彩妆品牌花知晓,后者是较早出海的国货品牌之一,其看中了花知晓的海外运营经验,旨在为集团全球化布局探路。此外,珀莱雅董事长侯军呈也明确表示,公司考虑通过巴黎分公司进行并购,以填补在婴童、香水、男士护肤等高增长细分赛道的空白。
不过,整体来说,国货美妆全球化征程仍处于探索阶段。林清轩的招股书坦诚,公司已通过亚马逊等跨境电商平台启动海外销售,但“该等活动的规模仍然有限”,来自海外电商的收入在报告期内占总收入不足0.1%。
孙来春在上市后的首次公开媒体采访中也表示,“现在是在北美亚马逊做了一些测试,卖100多美元一瓶,实际上销量不大,当地消费者反馈价格太贵。这是因为在当地市场没有品牌力支撑。我们还是从文化的同根同源上,考虑在新加坡,以及中国香港等地先试水。”
珀莱雅虽高调宣布国际化战略,但公司从未在财报中详细披露境外销售数据,截至2024年,其海外业务收入占总收入的比重很低。丸美生物和自然堂的招股资料中,也未展示出成熟的海外业务板块和具体业绩。可以说,目前绝大多数国货美妆品牌的营收基本盘和增长引擎,仍牢牢根植于国内市场。
国货品牌出海面临的挑战是多维且复杂的,首要挑战是“内功”尚待夯实。许多品牌在国内的成功,很大程度上得益于成熟的线上流量运营、社交媒体营销以及与直播带货的深度绑定。
林清轩的情况就很典型。2022-2024年林清轩研发投入分别为2112万元、1975万元、3040万元,2025年上半年为1803万元,三年半累计研发投入合计不足1亿元。这种“重营销、轻研发”的失衡格局普遍存在,在强调品牌历史、科研底蕴和产品创新的国际市场中,尤其是欧美等成熟市场,竞争力可能大打折扣。
不过,国货美妆也通过投资,或者收购等方式,加速补课自身的业务能力及市场份额。2025年,珀莱雅成为医药企业桦冠生物的股东之一,进一步提升了其在医学领域的专业背书,贝泰妮与北京中关村启航创投国内高端医美光电设备研发企业紫菘医疗。同时,贝泰妮还与多家专业投资机构共同设立了金雨基金,专注于消费医疗、国民健康质量提升、药物研发、医疗器械等领域的投资。
孙来春更是表示,“我们也关注海外投资并购的机会,通过有当地文化适配性的海外品牌去开拓市场,坚持走品牌出海的道路。”