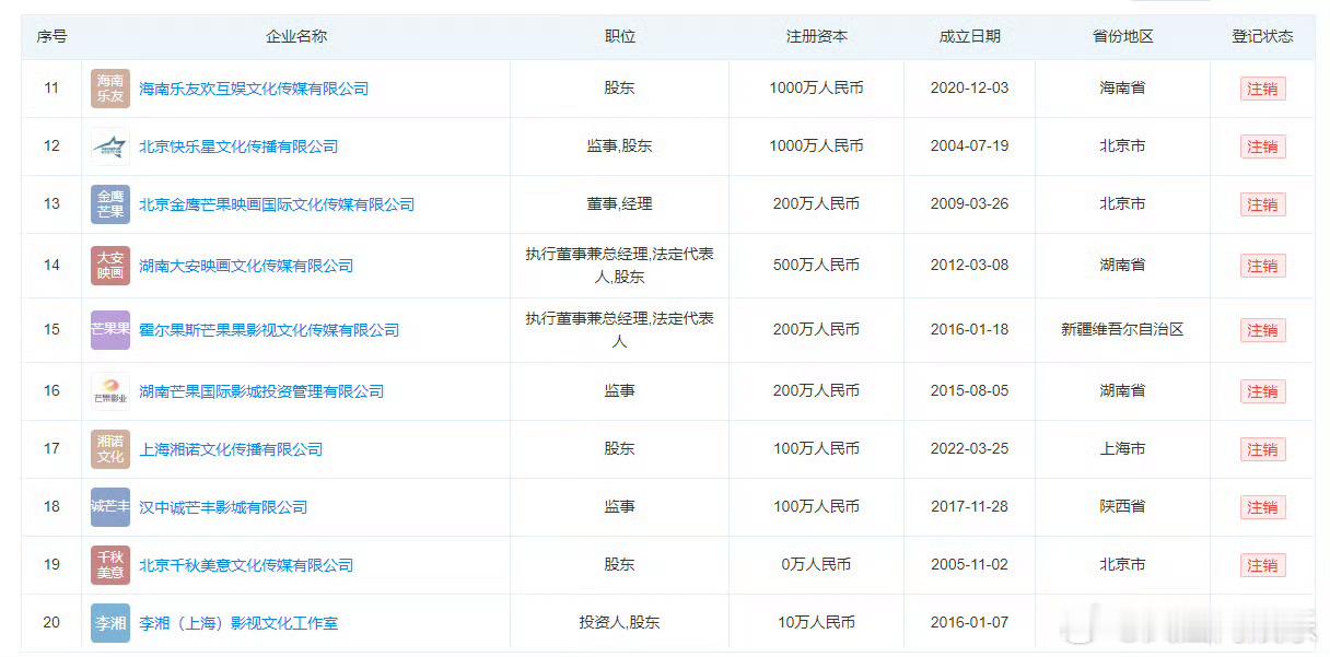
李湘全平台账号被禁止关注李湘名下超10家公司注销1月16日,网友发现知名主持人李湘在多平台的个人账号被禁止关注,粉丝累计超3000万。天眼查数据显示,目前李湘名下关联的20家企业,其中14家已注销,仅6家企业续存,注销比例高达70%。李湘在存续的企业中担任股东、执行董事或监事等职务,业务覆盖影视投资、企业管理等领域。(封面新闻)另外,已注销的14家企业多集中于文化娱乐、商务服务领域,且李湘曾在多家注销公司担任法定代表人执行董事或总经理。 (广州日报)截至目前李湘女儿王诗龄的社交账号未受影响。公开资料显示,李湘毕业于中国传媒大学,毕业后先后主持湖南电视台《晚间新闻》《灯火阑珊》等节目。1997年,主持湖南卫视《快乐大本营》。1998年,主持中央电视台《东西南北中》。2003年,李湘获得全国卫视最受欢迎主持人第一名;三次评为“最受欢迎主持人”称号。2004年11月,李湘正式离开湖南卫视《快乐大本营》。2013年8月,李湘出任深圳卫视副总监,2016年3月,加盟奇虎360,任职副总裁及首席内容官。5月,被正式任命为360娱乐总裁。2023年8月,李湘发文透露已经退休。





