IT之家1月15日消息,长期以来,折叠屏手机都不以“好修”著称,而谷歌自家的PixelFold系列同样如此。以Pixel10ProFold为例,其电池直接采用胶水固定,虽然提供了易拉条,但对非专业人士来说有可能出现“大力出奇迹”损坏手机情况。
而根据消息源@xleaks7,目前谷歌已悄悄申请一项折叠屏手机专利,其中显示谷歌Pixel11ProFold有望调整电池结构设计,更便于更换电池。
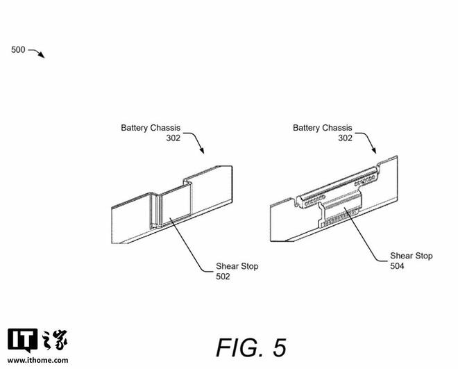
专利文件显示,Pixel11ProFold的电池有望不再通过胶水粘合,而是采用机械结构进行固定。具体来说,电池将被滑入一个定制形状的仓位中,通过金属结构和固定部件进行锁定,从而实现稳固安装。


专利中还提到,承载电池的机身结构采用金属材质,有助于电池接地,并通过限位结构防止电池在机身内部发生位移或扭转。同时,该设计仍为无线充电预留了空间,这意味着即便更换为可拆卸电池结构,也不会牺牲无线充电功能。
当然,需要注意的是,目前相应设计仅停留在专利阶段,并不意味着谷歌一定会将该设计应用到最终量产的Pixel11ProFold上。专利有可能只是技术储备,也可能在测试后被放弃。