群发资讯网
中国卫星网络集团星网系列商标获批
2026-01-05 10:35:23
新浪财经
财经,股票
转自:证券时报
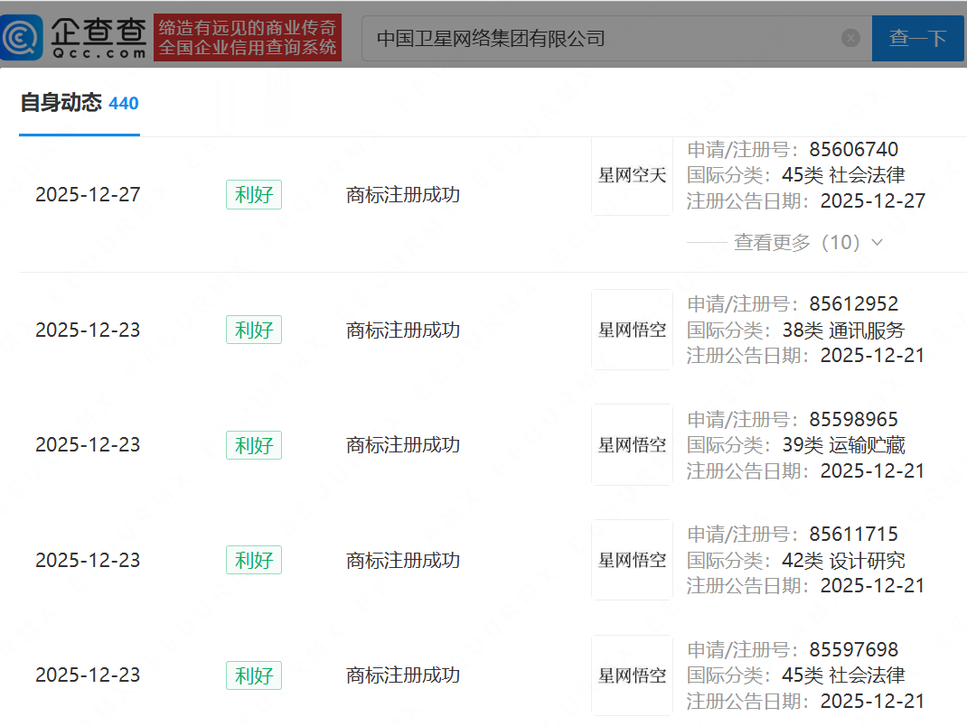
人民财讯1月5日电,企查查APP显示,近日,中国卫星网络集团有限公司成功注册星网空天、星网经纬、星网纵横等星网系列商标,国际分类涉及社会法律、设计研究、通讯服务等。
热门分类
推荐
热榜
军事
NBA
体育
社会
明星八卦
娱乐
财经
科技
汽车
历史
国际
游戏
动漫
公益
搞笑
商业
互联网
数码
国际足球
房产
家居
时尚
科学探索
职场
育儿
股票
教育
影视
情感
热点
中国军情
武器
中国南海
中国足球
亚洲杯
科比
综合体育
CBA
投资
楼市
大咖秀
外汇
创业
风口
SUV
豪车
概念车
优惠
新能源
美国
欧洲
朝日韩
俄罗斯
孕期
街拍
恋爱攻略
婚姻
正能量