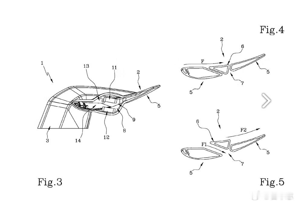
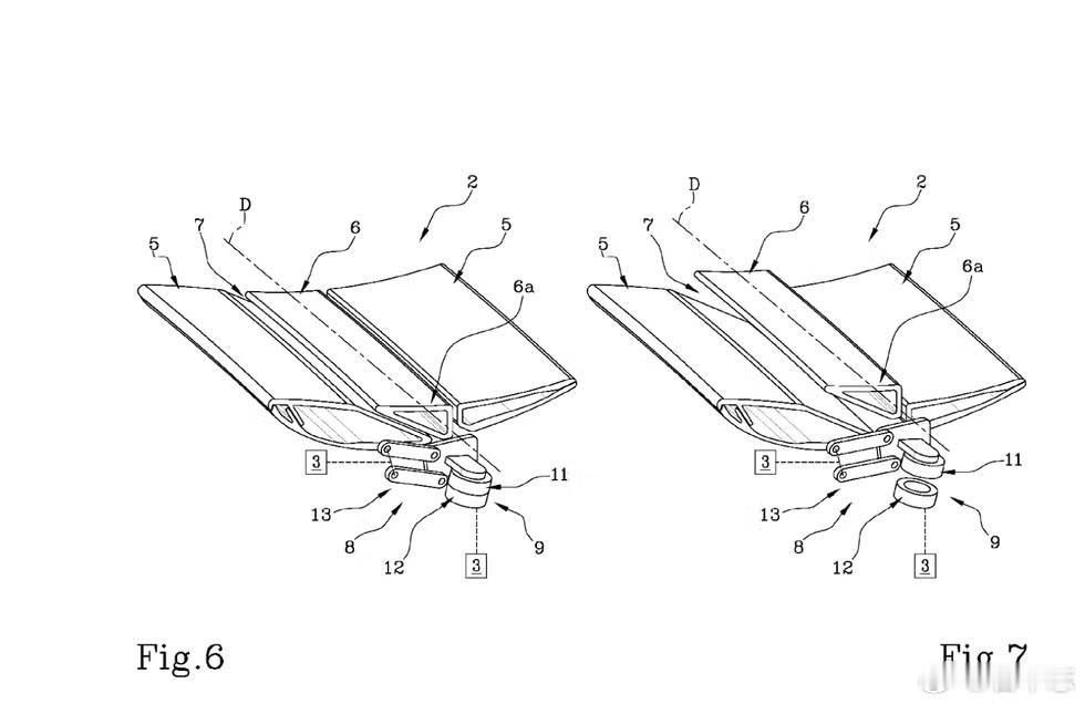
名车志新闻 【兰博基尼“磁力魔法”:用磁铁重构超跑空气动力学】当其他超跑还在用液压系统驱动尾翼时,兰博基尼最近公布了一项新专利——一项颠覆性的磁力减阻系统。其原理为主翼内嵌电磁铁,副翼(可动部分)装载对应磁极的磁铁,通过磁极相吸/相斥实现无接触驱动;该设计优势明显,相较液压系统重量减轻30%以上,响应速度提升50%,且几乎无机械磨损;装备该系统后,车辆高速巡航时尾翼自动降低,减阻12%;急刹或过弯时瞬间升起,提供3倍下压力。虽未确认是否用于Revuelto继任者或Temerario,但兰博基尼明确表示:“目标是更紧凑、更轻、响应更快。”


