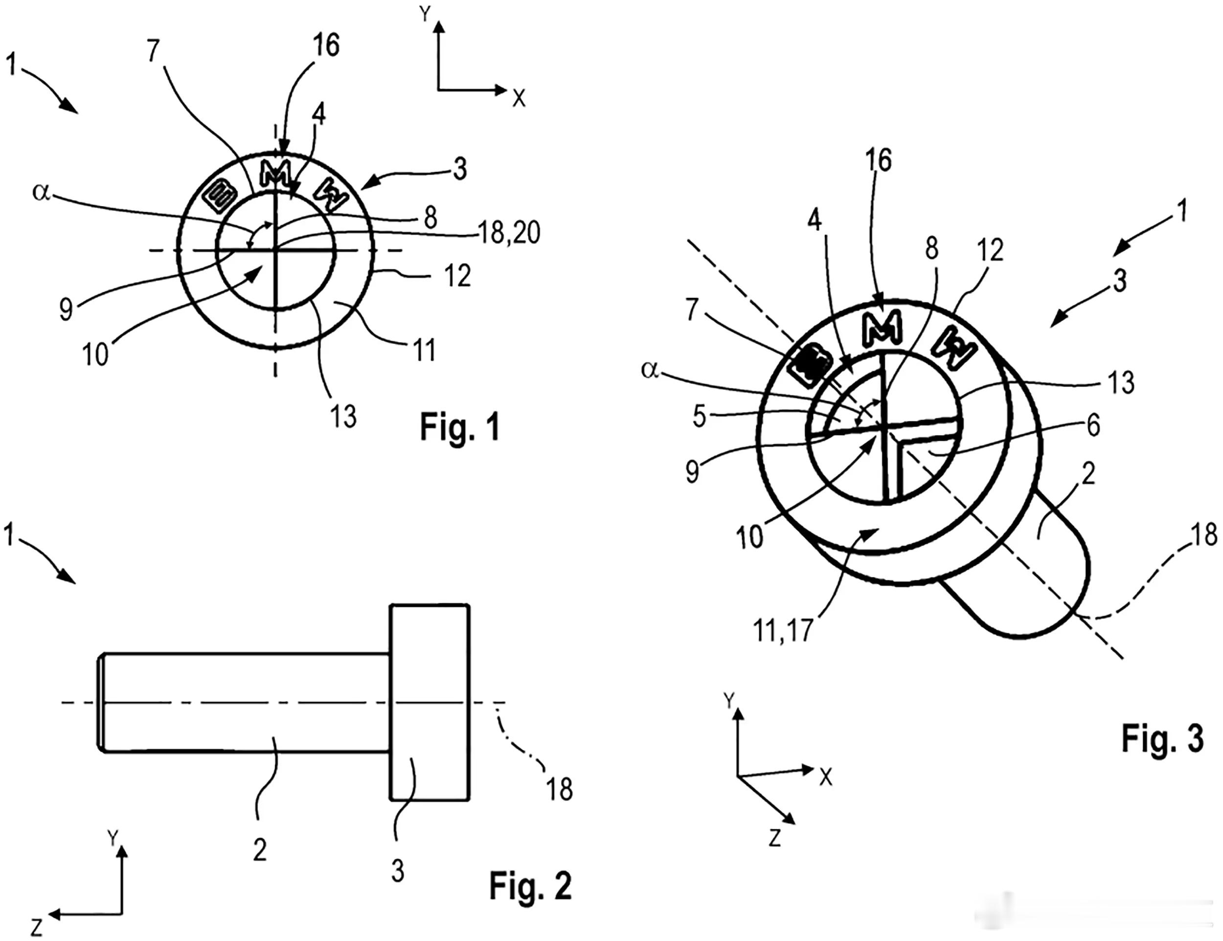
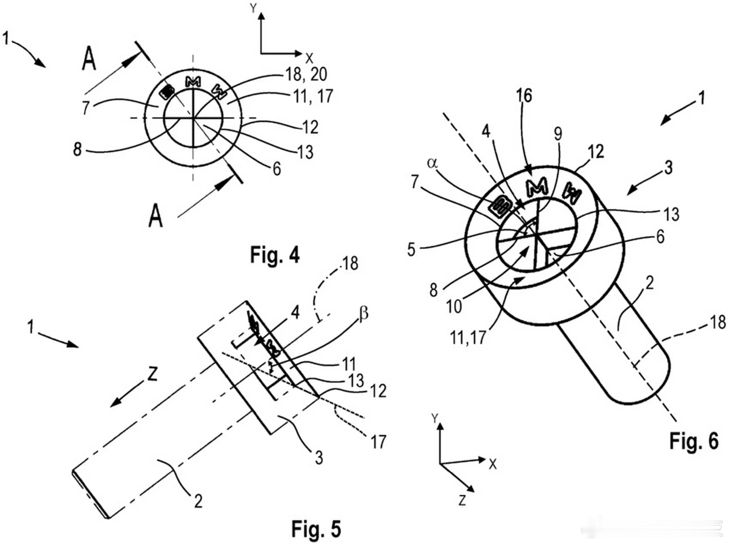
宝马新螺丝专利公布 宝马公司已提交了一套以自身标志为原型定制螺丝头的专利,该专利概述了四种不同类型的螺丝头部,每个形状都类似于宝马标志,分成四个象限。其中两个部分已凹陷,其余部分则为平整或抬高,需要专门的工具。乍一看,品牌螺丝头看起来很有趣,尤其是在驾驶舱的可见部件或发动机舱内使用时。但对于拥有标准工具包的机械师或车主来说,它们远没有那么迷人。不寻常的螺丝图案意味着普通工具无法握持,任何希望获取关键部件的人可能都需要宝马专用的螺丝刀。汽车黑科技




宝马新螺丝专利公布 宝马公司已提交了一套以自身标志为原型定制螺丝头的专利,该专利概述了四种不同类型的螺丝头部,每个形状都类似于宝马标志,分成四个象限。其中两个部分已凹陷,其余部分则为平整或抬高,需要专门的工具。乍一看,品牌螺丝头看起来很有趣,尤其是在驾驶舱的可见部件或发动机舱内使用时。但对于拥有标准工具包的机械师或车主来说,它们远没有那么迷人。不寻常的螺丝图案意味着普通工具无法握持,任何希望获取关键部件的人可能都需要宝马专用的螺丝刀。汽车黑科技



