群发资讯网
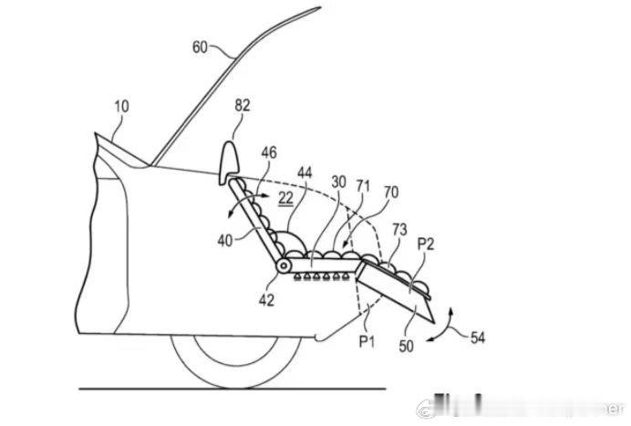
保时捷申请了一个新的专利,乍一看这么眼熟,大前备仓,还有大沙发!这不是乐道吗前有
2025-12-02 11:39:51
新梅夜谈汽车啦
汽车
保时捷申请了一个新的专利,乍一看这么眼熟,大前备仓,还有大沙发!这不是乐道吗前有领跑,后有保时捷等等等!引领潮流乐道l90乐道L90
热门分类
推荐
热榜
军事
NBA
体育
社会
明星八卦
娱乐
财经
科技
汽车
历史
国际
游戏
动漫
公益
搞笑
商业
互联网
数码
国际足球
房产
家居
时尚
科学探索
职场
育儿
股票
教育
影视
情感
热点
中国军情
武器
中国南海
中国足球
亚洲杯
科比
综合体育
CBA
投资
楼市
大咖秀
外汇
创业
风口
SUV
豪车
概念车
优惠
新能源
美国
欧洲
朝日韩
俄罗斯
孕期
街拍
恋爱攻略
婚姻
正能量