
图源:九天行歌
撰文|乔帅
审核|刘玉琳
封面|九天行歌
泰伯网讯,2月7日,北京九天行歌航天科技有限公司(以下简称“九天行歌”)宣布完成A++轮超亿元战略融资,本轮融资由北京市商业航天和低空经济产业投资基金和北京市新材料产业投资基金联合投资。
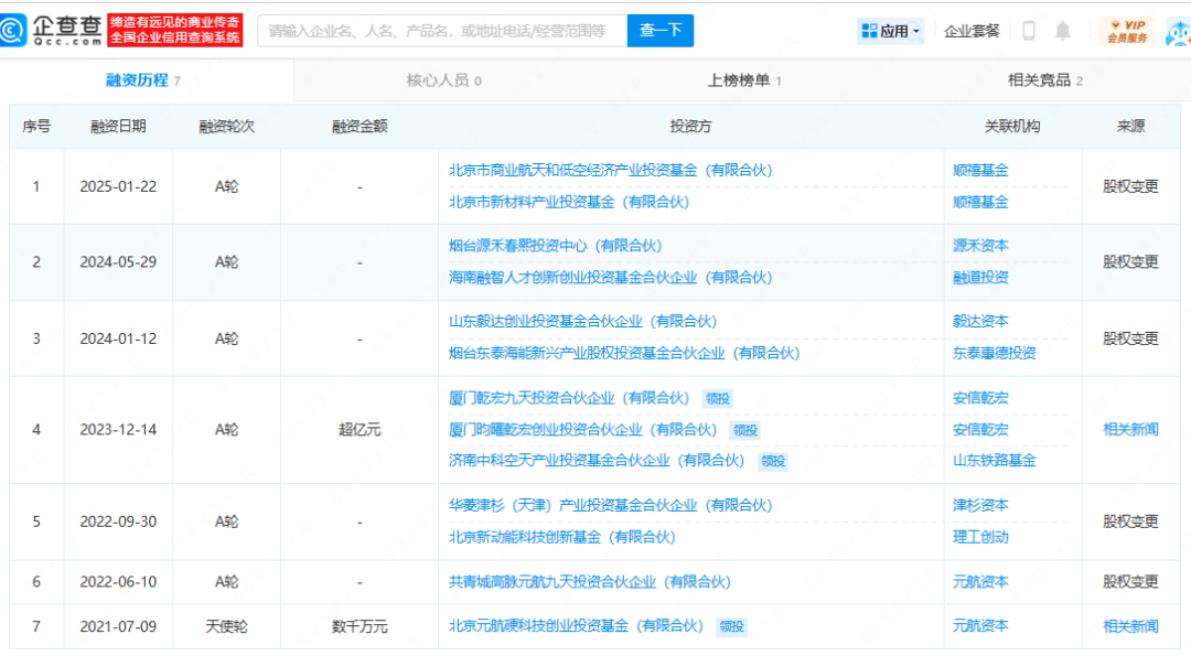
据公开信息,这是九天行歌成立以来第7轮融资,也是北京市商业航天和低空经济产业投资基金成立后投资的第一家商业航天企业。


图源:企查查
九天行歌于2019年在北京顺义成立,主业为液体运载火箭核心系统及关键部件批产。去年11月,公司落户大兴区安定镇北京商业航天产业基地。
据企查查,此次投资方北京市商业航天和低空经济产业投资基金(有限合伙)于2024年6月20日成立,出资额100亿元。该基金由北京市政府投资引导基金(有限合伙)、北京达晨鲲鹏管理咨询合伙企业(有限合伙)、北京京国管置业管理有限公司共同持股。
截至发稿,北京市商业航天和低空经济产业投资基金共投资两家公司:除九天行歌之外,还有一家位于北京市大兴区亦庄经济开发区的无人机研发商——北京航景创新科技有限公司。
九天行歌本次融资资金将主要用于技术研发和生产能力建设等方面。据介绍,公司研发总部位于北京市大兴区,科研和产业基地位于山东省烟台市海阳市。从其控股企业来看,九天行歌(山东)航天科技有限公司、九天行歌(海南)航天科技有限公司和九天行歌微重(济南)技术有限公司三家公司为在业或存续状态。
目前,九天行歌的注册资本已于1月22日由1796.0995万元变更为2024.4172万元,增加228.3177万元。