
2025年9月,上海卓畅荣获“上海市专精特新企业”认定。
这表明,上海卓畅通过了企业创新力、市场地位和产品质量等多维度的“国家标准尺”检验。这不仅是一张含金量颇高的“官方认证”,更是对我们的激励与鞭策。

作为深耕行业二十多年的国产工业软件品牌,上海卓畅坚持围绕核心产品SinoCAM套料软件开展相关业务,例如套料管理系统、下料管理系统、物资管理系统、用于切割下料车间设备调度及控制的MES系统,以及衍生品SinoLabel手持喷码机等。
为多家企业提供了从设计、采购、生产到运输和现场管理等管理整个项目流程的全生命周期管理服务。


一直以来,上海卓畅始终致力于提升国产信息产业的自主研发,所有产品实现从底层芯片、操作系统到上层软件的全面“国产数智化”,破解套料下料领域的“卡脖子”难题,构建高效的数据安全防护屏障。
得益于不断的技术创新,卓畅SinoCAM智能排料软件v23.0产品,于2025年10月获得上海市信创公共服务平台颁发的“信创产品评估证书”。

这一证书不仅标志着卓畅套料软件在信创领域的关键跨越,更意味着卓畅的产品在安全性、稳定性、创新性等核心维度,获得行业权威机构的高度认可与专业背书,彰显了我们在套料排版细分领域自主研发的硬实力与行业影响力!
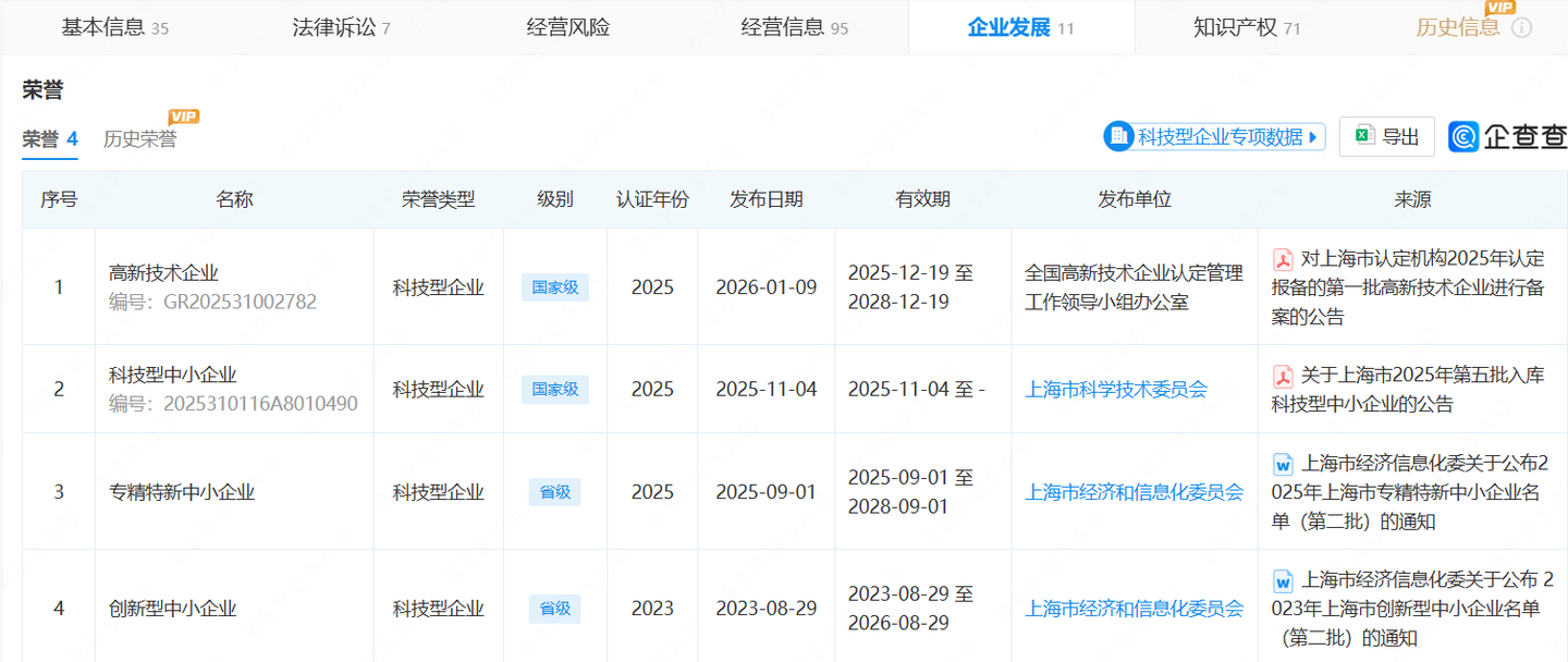
源代码自主,殊荣满载上海卓畅在工业软件领域有着深厚积累,多项荣誉傍身。2022年起,乘着国产软件替代的浪潮,公司发展走上快车道,先后荣获国家级“高新技术企业”、“科技型中小企业”,上海市“专精特新中小企业”、“创新型中小企业”。
凭借独立源代码的先天优势,在面对用户的定制需求时,可以从容不迫地做到“因需制宜”,帮助用户更好的打造差异化,明确自身产品优势,助力企业突出重围。




此次双项突破,是对上海卓畅二十余载脚踏实地的认可,也是我们作为国产套料软件领头羊的实力证明!
未来我们将继续精耕细作,为用户提供高效自主的智慧切割下料方案,推动核心技术与多行业场景深度融合,在筑牢国家信息安全屏障的同时,为国家数智化生态体系建设发光发热!